Nissan X-Trail 2023 Manual
3.5.1.4. Sistema de airbag cortina
O sistema pode ajudar a atenuar a força do impacto na cabeça do condutor e dos passageiros nos bancos dianteiros ou nos bancos traseiros exteriores, em certas colisões laterais. O airbag suplementar de impacto lateral de cortina foi concebido para ser activado no lado em que ocorre a colisão.
O SRS destina-se a suplementar a protecção contra acidentes proporcionada pelos cintos de segurança e não se destina a substituir estes. Os SRS podem ajudar a salvar vidas e reduzir lesões graves. Contudo, a activação dos airbags pode causar abrasões e outros ferimentos. Os airbags não oferecem protecção à parte inferior do corpo. Os cintos de segurança devem sempre ser correctamente colocados e os ocupantes devem estar sempre sentados a uma distância adequada do volante, painel de instrumentos e forros das portas. (Consulte
.) Os airbags activam-se rapidamente para ajudar a proteger os ocupantes. A força de activação dos airbags pode aumentar o risco de ferimentos se os ocupantes estiverem demasiado perto ou encostados aos módulos dos airbags durante a sua activação.Os airbags de impacto dianteiro e lateral contraem rapidamente após o accionamento. O airbag de impacto lateral dianteiro central e os airbags de impacto lateral de cortina permanecem cheios durante um curto período de tempo.
O SRS é accionado apenas quando o comutador de ignição está na posição ON.
Quando o comutador de ignição estiver na posição ON, a luz de aviso do airbag SRS acende-se durante cerca de 7 segundos e depois desliga. Isto indica que o SRS está operacional. (Consulte ${1}.)



Os airbags dianteiros não são normalmente activados durante uma colisão lateral, colisão traseira, capotamento ou colisão frontal ligeira. Utilize sempre os cintos de segurança para ajudar a reduzir o risco ou a gravidade de ferimentos provocados por colisões.
Os cintos de segurança e os airbags dianteiros têm maior eficácia se os ocupantes estiverem bem encostados no banco e direitos. A activação dos airbags dianteiros é efectuada com elevada energia. Se você e os passageiros não estiverem a utilizar um sistema de retenção, se estiverem inclinados para a frente, sentados de lado ou em posição incorrecta, correm maiores riscos de ferimentos ou morte durante um acidente. Você e os passageiros poderão também sofrer ferimentos graves ou fatais devido ao airbag de impacto dianteiro suplementar se estiver encostado sobre este quando for activado. Sente-se sempre contra o encosto e o mais afastado possível do volante ou do painel de instrumentos. Utilize sempre os cintos de segurança.
Mantenha as mãos do lado de fora do volante. Colocá-las dentro do aro do volante poderia aumentar o risco de danos físicos se os airbags dianteiros fossem activados.







Nunca permita que as crianças não estejam protegidas pelo sistema de retenção, ou ponham as mãos ou a cabeça fora da janela. Não tente segurá-las ao colo ou nos braços. As ilustrações apresentam exemplos de posturas perigosas.
As crianças podem ficar gravemente feridas ou morrer quando os airbags são insuflados, se não estiverem convenientemente protegidas por um sistema de retenção.
Nunca instale um sistema de retenção para crianças virado para trás no banco do passageiro dianteiro sem assegurar que o airbag do passageiro dianteiro está desactivado. O accionamento do airbag dianteiro poderia ferir gravemente ou matar a sua criança. (Consulte
.)





Os airbags suplementares de impacto lateral, o airbag suplementar de impacto lateral dianteiro central e os airbags suplementares de impacto lateral de cortina geralmente não são accionados em caso de impacto frontal, impacto traseiro, capotamento ou colisão frontal ligeira. Utilize sempre os cintos de segurança para reduzir o risco ou a severidade de lesões provocadas por colisões.
Os cintos de segurança e o airbag suplementar de impacto lateral dianteiro central, os airbags suplementares de impacto lateral e os airbags suplementares de impacto lateral de cortina são mais eficazes quando está bem encostado e direito no seu banco. O airbag suplementar de impacto lateral dianteiro central, os airbags suplementares de impacto lateral e os airbags suplementares de impacto lateral de cortina são activados com muita força. Se você e os passageiros não estiverem a utilizar um sistema de retenção, se estiverem inclinados para a frente, sentados de lado ou em posição incorrecta, correm maiores riscos de ferimentos ou morte durante um acidente.
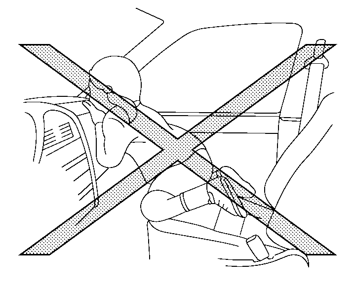
Não permita que ninguém coloque as mãos, as pernas ou a face perto do airbag suplementar de impacto lateral dianteiro central, dos airbags suplementares de impacto lateral e dos airbags suplementares de impacto lateral de cortina localizados no centro do encosto do banco do condutor, nos lados dos encostos dos bancos dianteiros ou perto das travessas laterais do tejadilho. Não permita ninguém sentado nos bancos da frente ou nos bancos traseiros exteriores com as mãos fora das janelas ou a encostar-se às portas. As ilustrações apresentam exemplos de posturas perigosas.
Os ocupantes do banco traseiro não devem apoiar-se sobre o encosto dos bancos dianteiros. Se o airbag suplementar de impacto lateral dianteiro central, os airbags suplementares de impacto lateral e os airbags suplementares de impacto lateral de cortina forem activados, poderá ficar ferido com gravidade. Tenha maior atenção com as crianças que deverão estar permanentemente retidas correctamente.
Não utilize capas nos encostos dos bancos dianteiros. Podem interferir com o accionamento do airbag suplementar de impacto lateral dianteiro central e do airbag suplementar de impacto lateral.