Nissan X-Trail 2023 Manual
4.7.1.3. Posição AUTO
Quando o comutador de ignição está na posição ON com o comutador de faróis na posição “AUTO”, os faróis, as luzes de presença dianteiras, as luzes do painel de instrumentos, as luzes traseiras e as luzes da matrícula acendem-se automaticamente consoante a luminosidade circundante.
Os faróis acendem-se automaticamente ao fim do dia ou com tempo chuvoso (quando o limpa pára-brisas funciona continuamente).
Quando o comutador de ignição está na posição "OFF", as luzes apagam-se automaticamente.


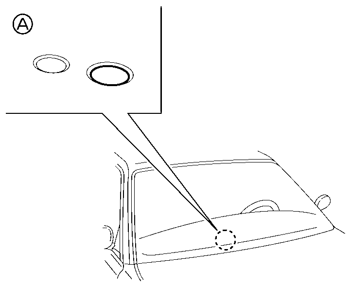
Não coloque nenhum objecto em cima do sensor (A). O sensor detecta o nível de luminosidade e controla a função dos Intelligent Auto Headlight (Faróis automáticos inteligentes). Se o sensor estiver tapado reage como se estivesse escuro e acende os faróis.
A disposição ilustrada é para o modelo com volante à esquerda (LHD). No modelo com volante à direita (RHD), o sensor está localizado no lado oposto.