Nissan X-Trail 2023 Manual
6.8.4.4. Controlo da temperatura traseira

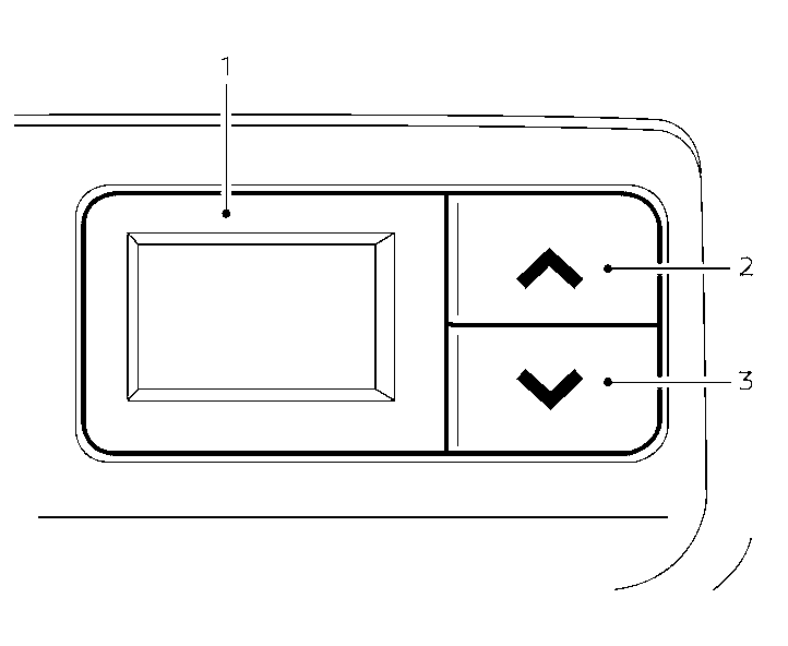
- Visualização da temperatura traseira
- “
” Botão de aumento da temperatura traseira - “
” Botão de diminuição da temperatura traseira
Pode ajustar a temperatura para os passageiros dos bancos traseiros utilizando os botões localizados no lado de trás do compartimento da consola.
Manual do proprietário da Nissan