Nissan X-Trail 2023 Manual
7.16.7.1. Precauções com a reparação do pára-choques
Ao reparar o pára-choques, tenha cuidado porque os sensores do radar estão instalados no pára-choques.
Mecanismo do sensor do radar

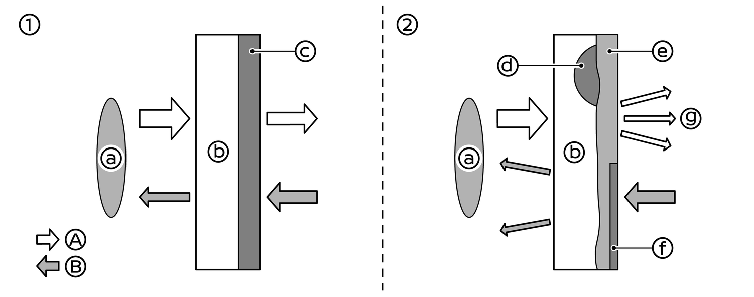
- A)Sinal do radar
- B)Sinal reflectido
O sensor do radar detecta objectos emitindo um sinal de radar e medindo a sua reflexão.
Reparar o pára-choques

(1) Condição normal (antes da reparação)
(2) Condição inadequada (após a reparação incorrecta)
- A)Sinal do radar
- B)Sinal reflectido
- a)Sensor de radar
- b)Pára-choques do veículo
- c)Camada de película
- d)Massa
- e)Camada de retoque
- f)Nova pintura
- g)Difusão do sinal do radar
Se for efectuada uma reparação inadequada no pára-choques (por exemplo, aplicação de massa feita de diferentes materiais, nova pintura, etc.), o sinal do radar pode ficar enfraquecido ou impedido de funcionar correctamente. Isto pode fazer com que o sensor do radar não detecte correctamente os objectos.
Manual do proprietário da Nissan