Nissan X-Trail 2023 Manual
6.8.3. Ar condicionado automático (modelos sem controlo traseiro)

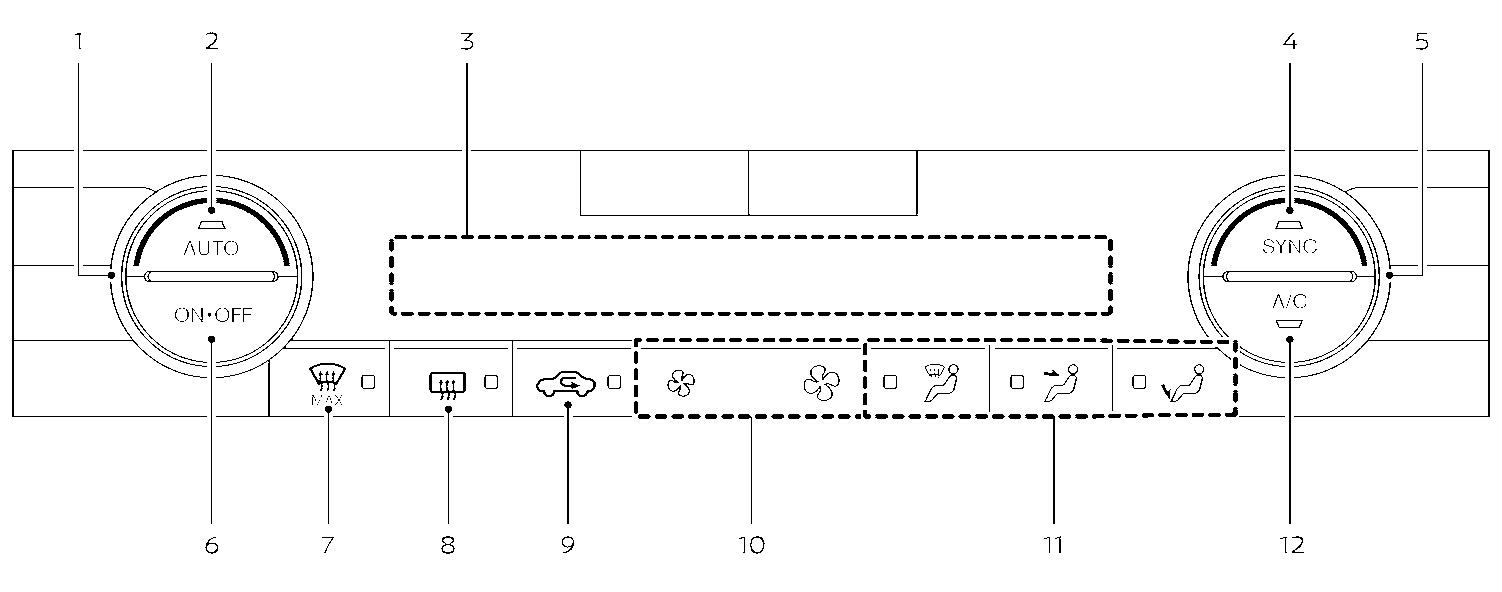
- Botão de controlo da temperatura (lado do condutor)
- Botão <AUTO> (automático)
- Ecrã
- Botão <SYNC> (sincronizar)
- Botão de controlo de temperatura (lado do passageiro)
- Botão <ON・OFF>
-
Botão (desembaciador dianteiro MAX) -
Botão (desembaciador do vidro traseiro) - (Consulte .)
-
Botão (recirculação do ar) -
Botões (controlo da velocidade do ventilador) - Botões de controlo de fluxo de ar
- Botão <A/C> (ar condicionado)
A disposição dos botões pode variar consoante os modelos e as especificações.
Manual do proprietário da Nissan