Nissan X-Trail 2023 Manual
4.5.7. Computador de bordo


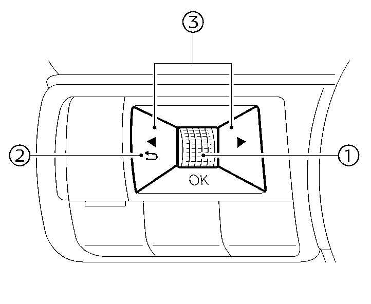
Os comutadores do computador de bordo estão localizados no lado esquerdo do volante.
- Botão de deslocamento - navegue pelos itens e altere ou seleccione um item no visor de informações do veículo
- este botão de deslocamento permite subir/descer pela navegação e premir para seleccionar
- regresso ao menu anterior
- passe de um ecrã para o seguinte (ou seja, viagem, consumo de combustível)
As imagens apresentadas podem divergir, dependendo do modelo.
Manual do proprietário da Nissan