Nissan X-Trail 2023 Manual
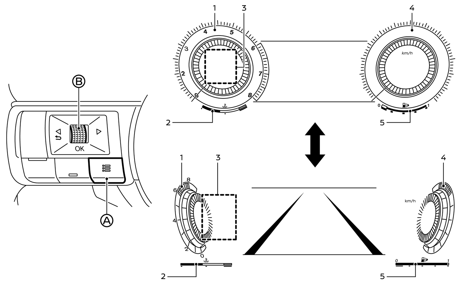
4.3.2.1. Alterar a vista do ecrã do manómetro (modelos com ecrã total)

- Tacómetro
- Manómetro de temperatura do líquido de arrefecimento do motor
- Visor pessoal
- Velocímetro
- Manómetro de combustível
Nos modelos com ecrã total, a vista do ecrã do manómetro pode ser alterada expandir a área do visor de informações do veículo.
Para alterar a vista do ecrã do manómetro:
Prima o botão do menu de atalho (A) do lado esquerdo do volante.
[Menu de atalhos] aparece na área do visor de informações do veículo.
Seleccione [Alterar vista de indicador] rodando o botão de deslocamento (B) e premindo-o pata alterar a vista.
Manual do proprietário da Nissan