Nissan X-Trail 2023 Manual
7.22.2. Comutadores ProPILOT Assist

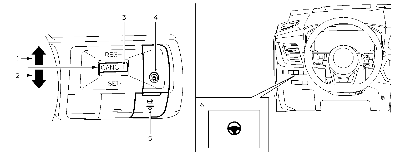
Comutador <RES+>:
Retoma a velocidade definida do veículo ou aumenta a velocidade em incrementos.
Comutador <SET->:
Define a velocidade de cruzeiro pretendida ou reduz a velocidade em incrementos
Comutador <CANCEL>:
Desactiva o sistema ProPILOT Assist sem apagar a velocidade definida
Comutador do ProPilot Assist:
Liga ou desliga o sistema ProPILOT Assist
Comutador DISTANCE:
[Longe]
[Média]
[Curta]
Comutador de controlo da direcção:
Liga ou desliga a função de controlo da direcção
Manual do proprietário da Nissan